表示価格はモノラル1台。
Phasemation フェーズメーションの真空管パワーアンプ最高峰MA-2000 は名球300B をパラシングル駆動し25Wという出力を得ていましたが、このたび新しく発売されたMA-1500 は同じ300B を本来の単管シングル動作とし、最もピュアなシングルアンプ構成となっています。
MA-2000 やMA-1000 と同じくモノラル・アンプです。
詳細をみていきましょう。
 - 出力管PSVAN 300B をトランス結合、東芝製6CG7 で最適駆動
出力管には定評あるPSVAN製 300B を採用、自己バイアスのシングル純A級動作とし、東芝製の6CG7 をドライバーとしてトランス結合で使用、300B 本来の素性の良さを最もシンプルな動作で発揮出来る構成としました。

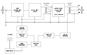
ブロック・ダイヤグラム
 
 - 全段三極管による無帰還アンプ構成
5814A+6CG7+300B という全段三極管による無帰還アンプ回路構成。
 
 - スウェーデン・ルンダール社製の出力トランス及び段間トランスを採用
音質上優れたルンダール社製の段間(ドライバー,出力段間)および出力トランスを採用。
段間トランスでは2次側の独立巻き線構造を利用して並列接続を採用。
出力トランスにおいても2次側の独立巻き線構造を利用して8Ω、4Ωのスピーカーを最適に駆動出来る独立端子を用意しました。
 
 - 独立2電源チョークトランス構成
初段,ドライバー段(5814A&6CG7)と出力段(300B)には、それぞれ独立した電源チョークトランスから電源を供給することにより、入力信号増幅回路とスピーカー駆動回路との相互干渉を極力排除しています。
 
 - ローノイズ設計の徹底
高圧電源にはスイッチングノイズには無縁の整流管5R4G とチョークトランスによる整流回路を採用。300B のヒーターはDC電源による直流点火で、徹底したローノイズ設計としています。