UESUGI 上杉研究所 は、アンプ設計者でオーディオ評論家でもあった上杉佳郎氏が兄・上杉卓男氏とともに1971年に創業(型番のU-BROS は上杉兄弟の意)、一貫して真空管アンプを製造してきました。
2010年に惜しくも上杉佳郎氏が亡くなった後を受け継いで、現在の代表、藤原伸夫氏が2011年から運営しています。
両氏は長年親交があり、上杉氏自身が厚い信頼を寄せていた藤原氏に後を託して現在に至っています。
藤原氏は長年日本ビクターで電気回路設計を担ってきたヴェテラン中のヴェテランで、ビクターの伝説的名機、ラボラトリーシリーズのME1000 やPL-10,XL-Z1000A をはじめとして多くの製品設計に携わってきました。
こうした藤原氏の百戦錬磨の経歴は上杉時代とはまた違った新風をもたらして、ウエスギ・アンプの伝統を周到に守ったうえで、さらに視野を広げて新しい技術も導入、新時代のウエスギをしっかりと印象付けています。
U-BROS-300AH は、久々のウエスギ300B アンプとして2013年に発売され好評を博してきたU-BROS-300 の後継機で、ノイズレスでヒーターを交流点火させる独自回路を考案、搭載することで一層音質に磨きをかけたモデルです。
U-BROS-300AH L は、300B 真空管が付属しないモデル。ユーザーが好みの300B を組み合わせて使うことが出来ます。
現在、300B に代表される直熱三極管のヒーター・フィラメントはノイズ起因のため直流で点火させている場合がほとんどですが、一方、ACライン電源を変圧してそのまま用いる交流点火による電気的利点、音質的魅力についてはなかば伝説的に語られてきました。
しかしS/N比のうえで現代の基準を満たすことは困難で製品化例は極めて限られています。
そこで藤原氏が実験的に交流点火構成で試作、音質検討したところ、その効果は予想以上のものがあり、何としても問題点をクリアして交流点火を実現したいと考えました。
その結果、最新のDSP(Digital Signal Processing)技術によりフィラメントの交流点火で不可避的に生じるハム雑音をリアルタイムで消去する技術の開発に成功、それを初めて搭載したのがU-BROS-300AH です(AH: Alternating current Heating)。
 - 300B ヒーターの交流点火
従来の直熱真空管の交流点火による製品では、その真空管毎に固有の調整が必要でしたが、最新のDSP技術により高精度のフィラメントハムのキャンセル性能を得て、真空管の経年変化に対しても有利となりました。 *300B ヒーターのノイズレス交流点火については、一番下の技術解説を参照下さい。 
- A2級動作による余裕の12W出力
高品質真空管と万全の保護回路による動作点の監視のもと、A2級動作により 300B シングル出力アンプとしては大出力の12W を安定して獲得しました。
 A2級動作とは、グリッドをプラス領域まで励振することで大出力を得る動作階級(クラス)で三極出力管でその効果が顕著です。
 300B 真空管のグリッドへカップリング・コンデンサーを介さない直結カソードフォロア・ドライブにより、クリッピングが進行した際に生じるブロッキング(弛張)動作が回避されます。
 加えて300B 真空管は固定バイアス動作のため、最大出力が連続しても動作点が一定でクリップからの回復が速やかに行われ、歪みが耳につきにくくなっています。
 
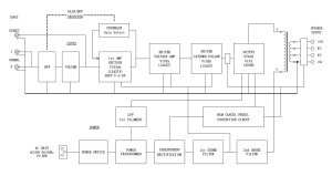
- 電源回路の特徴
各ステージごとに大容量のコンデンサーでデカップリングを徹底しており、音質上有害な相互干渉を極小にしています。
 特に出力段への供給電源は専用のチョークトランスと大容量電解コンデンサーで構成されており、低雑音化を徹底。
 
- 万全の保護回路
本機の回路構成である固定バイアス動作+直結カソードフォロアドライブの300B 真空管においては異常電流発生の危険性が増大します。
 本機では300B 真空管の定格動作電流を20% 超えた状態が2秒間継続したとき電流をカットオフする保護回路が装備されており、貴重な300B 真空管を過大なプレート電流による破壊から守ります。
 保護回路が動作するとプレート電流監視用メーターのバックライト照明が点滅してこれを知らせます。この保護動作は電源OFFまで持続します。
 また、電源ON後の通電にともない各真空管の動作点の制御を順次行って、真空管のウオームアップ過程での動作点を最適に保ちます。
 一般に真空管アンプではウオームアップ後の電源再投入タイミングによっては過大電流が流れますが、この動作点の制御機能により予期せぬ停電、突然の停電回復にも常に真空管を保護します。
 
- トランス類について
(1) 電源トランス
 電源トランスは徹底した低磁束密度動作(磁気飽和励磁電圧が従来の1.3倍)を行うことで、電源ラインに含まれる有害なノイズ(重畳直流電圧、インパルス電圧)の影響を受けにくくなっています。
 整流回路はコンデンサーインプット型ですが、大容量チョークトランスを用いた平滑回路を用いているため、整流回路の導通角が大きくなり電源ラインに流れ出す高調波電流が低く抑えられます。この結果電源インピーダンスに過敏に反応しない安定した低雑音電源を構成しています。
 (2) チョークトランス
 チョークトランスは高周波特性の改善を目的として50/60Hz 整流回路用途としては業界で初めて分割巻きを採用しました。
 (2) 出力トランス
 橋本電気製のシングルアンプ用で最大容量の出力トランスをベースに同社と共同で、広帯域にわたり挿入損失の低い高効率の出力トランスを開発しました。
 
- バイアンプ,マルチチャンネルアンプ用の機能
ダンピングファクターの低い真空管パワーアンプにとって音質向上に効果のあるバイアンプによるスピーカー駆動方式に有用なパラレル出力端子(並列接続された2系統のNormal 入力端子)を装備。
 この端子を使用することでプリアンプからバイアンプ接続されたメインアンプ群まで1系統のラインで接続出来ます(下図参照)。
 また、-6dB,-12dB のゲインセレクターを使用することによりマルチアンプドライブ時に生ずる大幅なゲイン差を補償することが出来ます。 HPF(ローカットフィルター)を内蔵しており、本機を中高域ドライブアンプとして使用する際に入力される不要な低域信号を減衰出来、アンプ内部で生ずる混変調歪を大幅に低下させることが可能です。  
 
 - 300B 真空管のプレート電流監視用メーターを装備
このメーターで300B 真空管のプレート電流(バイアス電圧)調整を行うことが出来ます。
 本機は300B 真空管を固定バイアス動作していますが、300B のプレート電流調整
ならびにハムバランスを行うことで他銘柄の300B との差し替え使用がユーザー自身で行えます。
 
- ダイレクト入力端子を装備
この端子を使用することで音の鮮度をより向上させることが出来ます。
 なお、この使用法ではHPF 機能,信号分配機能,レベル調整機能 は使用出来ませんが、ゲイン切り替え機能は使用可能です。
 
- ウエスギアンプ設計理念の継承
● 1.6mm 厚亜鉛メッキ鋼板による高剛性シャーシーならびにサブシャーシー構造により、無共振・無振動・無干渉構造を継承、発展。 ● 初段ならびにドライバー管には松下電器産業製12AX7A ならびにGE,フィリップス製軍用12AU7 を採用しています。
 いずれも真空管全盛時代に先進工業国で生産された貴重な高品質真空管です。
 ● 電気回路、基幹部品には信頼性の高い実績のある国産メーカー品を採用、余裕度の高い動作設定と相まって定評の長寿命、高信頼設計となっています。 ● 信号伝達回路にはプリント基板による配線を用いず、40余年のキャリアのある職人による芸術的ともいえる手配線を継承しています。
 本機ではハムキャンセル・プロセッサーならびに300B 真空管保護回路、アクセサリー回路のみプリント基板を使用。
 
店主おススメ!


[ヒーター・フィラメントのノイズレス交流点火技術について]
直熱型真空管は加熱されたヒーター・フィラメントより熱電子をプレート電流として直接放出する能動素子であり、また出力信号(プレート電流)はフィラメントとグリッドの電極間電界(電位)により影響を受けます。
フィラメントを交流点火した場合には、フィラメント各部の電位分布が交流信号に同期して変動するので、出力信号にこの影響が電源ハム雑音として現れます。
このため現在ではフィラメント各部の電位分布が一定となり電源ハム雑音発生のない直流電源で点火するのが主流となっています。
但し、この直流電源による点火では、
(1) フィラメント各部の直流電位に定常的に差を生じ、その結果フィラメントのエミッション密度が異なる状態が継続することから、エミッションの片減りやプレートの局部加熱の恐れがあります。
(2) フィラメント電源を構成する低電圧大電流整流回路から音質に有害な整流ダイオードのスイッチングノイズが発生します。
(3) 電源回路に用いられるリニアレギュレーターないしは平滑用抵抗に熱損失が発生、電力損失が生じます。
一方、フィラメントの加熱用電源としてACライン電源を変圧しそのまま用いる交流点火では、
(1) フィラメント各部の電位が等しくなり(時間平均)エミッション密度が均一になることよりフィラメント寿命、しいては真空管寿命の延長が期待出来ます。
(2) 大電流整流回路が不要であり整流ダイオードのスイッチングノイズが生じません。
(3) ACライン電源をトランスで変圧し、そのままフィラメント点火電源として供給することで、整流回路やリップルフィルター、定電圧回路といった電力損失を伴う要素が不要となり、電源利用効率が向上します。
などが利点として挙げられます。
交流点火による音質の魅力は伝説的に語られてきましたが、ウエスギ研究所での試作機による音質評価では大いなる可能性を予感させる結果を得ており、本技術開発の強い動機付けとなりました。
唯一の欠点はフィラメント点火電源に起因する電源ハム雑音の発生ですが、今回開発に成功した「直熱真空管交流点火ハム雑音消去技術」(特許申請中)により直流点火に遜色のない現代オーディオが要求する低雑音レベルを達成しました。
この技術は、
「フィラメントハム雑音を、フィラメント電源波形を入力とするシステムの入出力応答と捉え、その伝達特性をセットごとに計測し、この伝達特性に基づき、リアルタイムにフィラメント電源波形より消去信号を生成し直熱真空管のフィラメントへ注入してフィラメントハム雑音を消去する技術」
です(下図参照)。
本技術ではフィラメント電源波形の基本波ならびに高次高調波のみが消去プロセスの対象であり、消去信号はオーディオ信号と絶縁されており干渉しません。
下図のようにハム雑音消去信号はフィラメント点火波形を入力として生成、直熱管のハム発生箇所に注入され、この信号がオーディオ増幅回路に流れ込むことはありません。
またすべてのデジタル処理を1チップのDSP(AD, DA 内蔵)マイコン内で行な
い、インターフェースポートはすべてアナログ信号で動作し、デジタル信号は外部へ出力しません。
これはフィラメントハム発生のない直熱真空管と同じといえます。
直熱真空管はその出現の時代背景から最初期のものは電池による点火でしたが、これ以降は交流点火を前提に開発されており、大型の三極管である300B や送信管などは交流点火が基本であるといえます。
